| নং | শিরোনাম | সেবার ধাপ | কার্যকলাপ |
|---|---|---|---|
| | |||
| ১ | মাটির স্বাস্থ্য সুরক্ষা | দেখুন | |
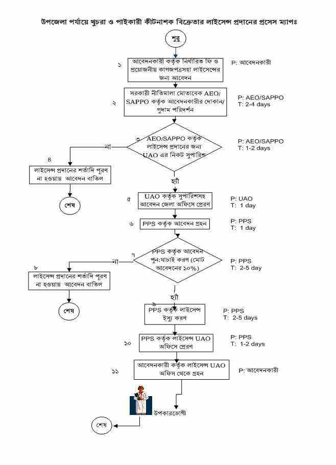
| ২ | লাইসেন্স প্রদান | দেখুন | |
| ৩ | প্রশিক্ষণ প্রদান | দেখুন | |
| ৪ | সমন্বিত বালাই দমন ব্যবস্থাপনা | দেখুন | |
| ৫ | প্রযুক্তি সহায়তা | দেখুন | |
| ৬ | কৃষি উপকরণ সহায়তা | দেখুন | |
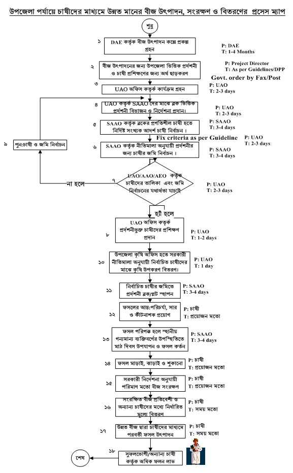
| ৭ | উন্নত মানসম্পন্ন বীজ উৎপাদন | দেখুন | |
| ৮ | সার ডিলার নিয়োগ প্রক্রিয়া | দেখুন |